Smartphone News
Whether you prefer iOS, Android, or something else entirely, find analysis and explainers on the latest smartphone release, camera tech, and mobile photography trends.
Latest Smartphone News Stories
Apple iPhone 13 Pro and Pro Max cameras: What you need to know
Google Brings Faux-Bokeh To Newest Version of Camera App
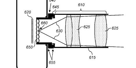
Apple Patent Shows an iPhone With a Bayonet Mount for Interchangeable Lenses
Amazon’s Fire Phone has Six Cameras, Innovative Head Tracking, and Unlimited Photo Storage In The Cloud
Behind the Scenes of Apple’s Super Bowl Ad Shot on the iPhone 5s
Apple Awarded Patent for “MagSafe” Lenses
Review: Olloclip 3-in-1 Macro iPhone Camera Lens
Apple Recalling Some iPhone 6 Plus Devices For Blurry Camera Defect
iPatch iPhone Case Covers Cameras For Privacy Conscious
Podo is a Stick-and-Shoot Camera You Control from Your Phone
Apple Patent Hints at Lytro-Like Lens For iPhone
New HTC One M9 Features 20-Megapixel Camera
Apple iPhone 6 and 6 Plus Get a New Camera, Hybrid AF
This 130 Smartphone Camera Photo Booth Takes 540-degree Bullet Time Photos
Kickstarter: Moment Case Makes iPhone 6 Into an Interchangeable-Lens Camera
Photojojo Introduces Iris Add-On Lenses For Smartphone Cameras
Enfojer is an Enlarger For Your Smartphone
iPhone 5S Gets Bigger Sensor, Faster Lens, Less Crummy Flash
New Gear: Acer Liquid S2 Smartphone Records 4K Video
Apple Claims There Are 800 People Working On Developing the iPhone Camera
Apple Patents Triple Lens, Triple Sensor Combo
Apple’s New Night Shift Feature for iOS Shifts The Colors on the iPhone Screen to Stop Ruining Your Sleep
The Cat S60 Rugged Waterproof Smartphone Has a Built-In Flir Thermal Camera
Samsung’ Galaxy S4 zoom Has 10x Optical Reach
New Gear: Olloclip Gets Its Own App
Nokia Pits New Lumia 928 Against iPhone 5, Samsung Galaxy S3 in Low-light Shooting
Android Adds RAW Support To Its Smartphones
Samsung Announces New Galaxy S4, With Tons of New Camera Features
Luxi Kickstarter Will Turn Your iPhone Into an Incident Light Meter
Pixel Heritage App Recreates Bad Old Phone Cameras
The Motorola Moto Z Smartphone Has a 10X Optical Zoom Camera Add-on Made With Hasselblad
iPhone 7 Gets a Brand New Camera, iPhone 7 Plus Gets Two New Cameras, Both Get Fake Bokeh
Teardown Reveals The iPhone 5’s Camera Sensors
The Kodak Extra Is a “Photography First” Smartphone With a Real Shutter Button
Ion iPics2Go Scans Film With An iPhone
The Not-Quite-RAW Shooting iPhone App 645 PRO Is Now Available
Apple pumped serious AI camera upgrades into the iPhone XS, XS Max, and XR
Apple Bringing iPhoto To The iPad and iPhone
Nokia 808 Pure View Smartphone Has a 41-Megapixel Camera Sensor
Apple will now pay winners of its iPhone contest
The best new smartphones and gadgets from Mobile World Congress 2019
The Huawei P30 Pro smartphone camera sees color differently to capture more light
The OPKIX One lets you take videos without having to stare at your phone
The Hipstamatic D-Series iPhone App Shares a ‘Film Roll’ Between Friends
iPhone 4 Set To Become Most Popular Camera On Flickr
Concept Device Combines Leica Brains and Glass with iPhone
Everything you need to know about Apple’s new iPhones
Hipoflex Brings Hip Shooting To Your iPhone
The iPhone 11 Pro camera is amazing, but it has a few notable issues
Apple’s iOS 5 Update Brings New Features to the iPhone Camera
How the latest iOS update made the iPhone 11’s camera even better
Roundup: This Weeks Notable iPhone and iPad Photo Apps
The $190 iPhone SLR Mount. Wait, What?
What Do Photographers Really Want From a Cell Phone Camera?